

ZJSG氣動薄膜隔膜調節閥
產品概述 ZJSG氣動薄膜隔膜 調節閥 具有結構簡單、流路阻...
- 產品詳情
產品概述
ZJSG氣動薄膜隔膜調節閥具有結構簡單、流路阻小、流通力較同口徑的其它閥大,無泄漏,能用于高粘度及懸浮顆粒流體的調節,根據隔膜材料的不同(橡膠或聚四氟乙烯)適用于調節強堿、強腐蝕性介質。由隔膜閥配用 PSL 系列電動 執行機構或氣動薄膜執行機構組成。隔膜與閥體間"山"形凸出面進行密封,與外界隔離(無填料函),特別適合于要求耐腐蝕、劇毒場合。產品特點
1、采用輕型執行機構,高度及重量均可減小30%。1、閥體內表面有多種材料涂復層,避免介質直接接觸,承受強閥腐蝕性介質的腐蝕。
3、閥門關閉時,內、外泄漏量為零,特別適合于劇毒介質或不允許污染介質的閥節。
4、流路簡單,阻力小,額定流量系數比同口徑單座,套筒 調節閥大。
主要零件材料
| 閥體 | HT200、ZG230~450 或下述材質襯里 |
| 隔膜 | 丁荃膠、天然膠、聚四氟乙烯波紋 |
| 薄膜 | 丁腈橡膠夾增強滌綸織物 |
| 彈簧 | 60S12Mn |
閥體襯里材質及適用范圍
| 閥體襯里 | 使用溫度(℃) | 適用介質 |
| 無襯里 | -10~+175 | 適用于非腐蝕性介質 |
| 軟橡膠 | -10~+85 | 有很好的耐磨性能,適用于水泥、粘土、煤塵、干燥化肥等 |
| 硬橡膠 | -10~+85 | 適用于無機械、鹽類、鹽酸、鍍金屬溶液、軟水、氯化物、氯氣等 |
| 氯丁膠 | -10~+105 | 適用于動物油、植物油和潤滑油,PH 值變化范圍很大的腐蝕性泥漿。抗磨損性能良好 |
| 丁荃膠 | -10~+120 | 防腐性能和耐磨性能良好,對大部分無機酸和酸性灰漿的耐蝕性 |
| 搪瓷 | -10~+175 | 適用于溫無機酸、氧化酸、鹵素、醇類、酯類等化合物 |
| 氟46 | -10~+190 | 適用于硫酸、鹽酸、氫氧化鈉等強腐蝕介質 |
隔膜材質及適用范圍
| 隔膜材質 | 使用溫度(℃) | 適用介質 |
| 丁荃膠(B 級) | -40~+100 | 大部分無機酸如:硫酸、氫氟酸、磷酸等適用,耐蝕性好,同時而各種堿和鹽 類 |
| 天然膠(Q 級) | -50~+100 | 主要用于凈化水、無機鹽和烯的礦物酸介質 |
| 聚四氟乙烯 | -10~+150 | 極***的化學穩定性、耐強酸、濃堿、強氧化劑的腐蝕 |
氣動隔膜調節閥主要技術參數
| 公稱通徑 mm | 15 | 20 | 25 | 40 | 50 | 65 | 80 | 100 | 150 | 200 | ||
| 公稱壓力 MPa | 0.6 10 | |||||||||||
| 行程 mm | 10 | 16 | 25 | 40 | 60 | |||||||
| 流量特性 | 近似快開型 | |||||||||||
| 介質溫度℃ | -15~200(常溫型)、-40~+250、-40~+450(中溫型)、-100~+200(低溫型) | |||||||||||
| 法蘭形式 | 法蘭密封面形式按 JB77,其中鑄鐵法蘭按光滑式,鑄鋼法蘭按凹式 | |||||||||||
| 閥體材質 |
PN (MPa) |
0.6,1.6 | WCB(ZG230-450) CF3CF8 CF8M | |||||||||
| 4.0,6.4 | WCB(ZG230-450)、ZG1Cr18Ni9Ti、ZG0Cr18Ni12Mo2Ti CF8 CF8M | |||||||||||
| 可調比R | 30:01:00 | |||||||||||
| 氣源接頭 | M16×1.5 | |||||||||||
氣動隔膜調節閥執行機構主要技術參數
| 公稱通徑(mm) | 配用執行機構號 | 主要技術參數 | ||
| 薄膜有效面積(cm2) | 行程(mm) | 額定流量系數 Kv 值 | ||
| 15 | ZMA(B)-2 | 280 | 10 | 8 |
| 20 | 12 | |||
| 25 | 16 | |||
| 32 | ZMA(B)-3 | 400 | 16 | 28 |
| 40 | 60 | |||
| 50 | 25 | 68 | ||
| 65 | ZMA(B)-4 | 630 | 90 | |
| 80 | 40 | 160 | ||
| 100 | 300 | |||
氣動隔膜調節閥主要性能指標
| 項目 | 技術指標 | |
| 不帶定位器 | 帶定位器 | |
| 基本誤差% | ±10 | ±1.5 |
| 回差% | 8 | 1.5 |
| 死區% | 6 | 0.6 |
| 允許泄漏量 | 襯里材料為聚三氟乙烯隔膜材料為:氯丁橡膠,氟橡膠 | 10-4×閥額定容量 |
| 無襯里材料為,隔膜材料為:氯丁橡膠,氟橡膠 | 5×10-6×閥額定容量 | |
| 可配附件 | 電氣定位器或電/氣轉換器 空氣過濾減壓器 電磁閥 手輪機構等 | |
| 額定流量系數 Kv 偏差% | ±20 | |
氣動隔膜調節閥允許壓差
| 公稱通徑 DN(mm) | 15 | 20 | 25 | 32 | 40 | 50 | 65 | 80 | 100 | |||
| 額定流量系數 Kv | 8 | 12 | 16 | 28 | 60 | 67 | 90 | 160 | 300 | |||
| 公稱壓力(MPa) | 1 | |||||||||||
| 配用執行機構型號 | ZMA(B)-2 | ZMA(B)-3 | ZMA(B)-4 | |||||||||
| 關閉時 允許 大壓力 MPa | 信號壓 力 Mpa | P2=0 | 120 | 0.9 | 0.9 | 0.4 | 0.4 | 0.3 | 0.2 | 0.2 | 0.1 | 0.05 |
| 140 | 1 | 1 | 0.8 | 0.8 | 0.6 | 0.4 | 0.4 | 0.2 | 0.1 | |||
| P1=P2 | 120 | 0.45 | 0.45 | 0.2 | 0.2 | 0.15 | 0.1 | 0.1 | 0.05 | 0.02 | ||
| 140 | 0.9 | 0.9 | 0.4 | 0.4 | 0.3 | 0.2 | 0.2 | 0.1 | 0.05 | |||
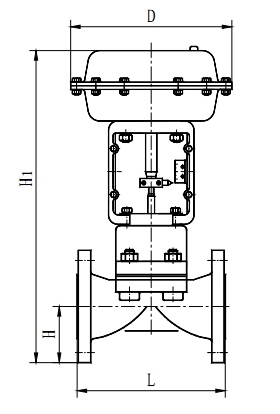
氣動隔膜閥外形安裝尺寸
| 公稱通徑(mm) | 20 | 25 | 40 | 50 | 65 | 80 | 100 | 150 | 200 | 250 | |
| L(mm) | 181 | 184 | 222 | 254 | 276 | 298 | 352 | 451 | 600 | 720 | |
| H(mm) | 67 | 72 | 87 | 92 | 105 | 110 | 127 | 174 | 209 | 300 | |
| H1(mm) | 479 | 479 | 553 | 562 | 754 | 795 | 857 | / | / | / | |
| D(mm) | 280 | 325 | 410 | / | / | / | |||||
產品外形結構尺寸圖


聲明:本文中所有文字、數據、圖片均只適用于參考,ZJSG氣動薄膜隔膜調節閥性能參數、結構尺寸參數、價格等詳情,請聯系我們,電話:021-80392609。
-

GHJ991W-16P電動針型調節閥 不銹鋼卡套連接信號輸
*** 滬工恒 公稱直徑 6cm 數量 560個 是否支持加工定制 是 是否進口 否 包裝規格 DN6 ...
-

微型電動球閥 不銹鋼內螺紋 絲扣微型閥 小型調節球形
*** 滬工恒 公稱直徑 15cm 數量 450個 是否支持加工定制 是 是否進口 否 包裝規格 DN1...
-

GHY43F衛生級快裝式減壓閥 不銹鋼卡盤卡箍卡套閥
*** 滬工恒 數量 580個 是否支持加工定制 是 是否進口 否 包裝規格 DN40-DN50 產地 蘇...
-

微小流量調節閥 電動精確控制小流量比例調節閥門
*** 滬工恒 驅動方式 電動 連接形式 螺紋 特殊功能 高精度 零部件及配件 執行器 形態 ...


