
無聲止回閥更新日期:2019-09-15
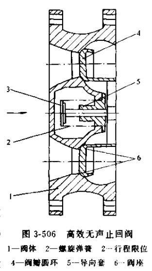
無聲止回閥如圖3-506所示,本閥門具有閥瓣重量輕、動作靈敏、行程較短、結構長度短、壓力損失在可允許的范圍內、關閉時無沖擊、無嗓聲等特點。閥門只有閥瓣一個零件動作,動作時壓縮螺旋彈簧,但螺旋彈簧不與介質直接接觸,因而壽命長。閥門所有零件均為碳鋼和不銹鋼制造,閥座和閥瓣密封面為不銹鋼。因此可在高溫下使用。閥門的設計制造符合API6D或DIN標準,結構長度符合API594和AFI6D,因此可以使用到長輸管線上。閥門的介質流動方向如圖3-506中箭頭所示。靠介質壓力壓閥瓣,壓縮彈簧2,即可開啟,開啟行程較短,開啟時同僅為0.15s,而且關閉時沖擊和噪聲都較小,閥門結構長度短,可安裝于管道任何位置,垂直安裝與水平安裝均可。

本閥門可設計成各種壓力等級,公稱通徑范圍是300~1800mm。法蘭連接尺寸可按DIN、ANSI、API、MSSV BS 制造。
上一篇:對夾式消聲止回閥 下一篇:內壓自封式閥蓋直流式旋啟式止回閥






