

ZDSJ電動角型流量調節閥
產品概述 ZDSJ電動角型調節閥采用頂部導向結構,配用多彈簧氣動執行機構或電子式電動執行機構。具有結構緊湊、重量輕、動作靈敏、流體通道呈流線型、壓降損失...
- 產品詳情
產品概述
ZDSJ電動角型調節閥采用頂部導向結構,配用多彈簧氣動執行機構或電子式電動執行機構。具有結構緊湊、重量輕、動作靈敏、流體通道呈流線型、壓降損失小、閥容量大、流量特性精確、拆裝方便等***點。廣泛應用于精確控制氣體、液 體等介質,使工藝參數如壓力、流量、溫度、液位保持在給定值。 特別適用于允許泄露量小閥前閥后壓差不大的高粘度、含有懸 浮物和顆粒狀物質的的調節,可避免結焦、堵塞,便于自凈與清洗的場合。 本系列產品有常溫型、調節切斷型、波紋管密封型、高溫 型、夾套保溫型等多種系列。產品公稱壓力等級有 PN10、16、 25、64、100;閥體口徑范圍DN20-DN200。泄露等級有Ⅳ或Ⅵ級。適用流體溫度由-200℃-+560℃范圍內多種檔次,流量特性為線形或等百分比。多種規格可供選擇。本系列調節閥結構新穎,功能完善、品種齊全。主要技術參數
| 本體部分 | |
|---|---|
| 閥體形式 | 角型鑄造閥 |
| 閥體材質 | ZG230-450 ZG1Cr18Ni9 |
| 公稱通徑 | DN20-DN300 |
| 公稱壓力 |
PN1.6 2.5 4.0 6.4 10.0MPa ANSI 150 300 600LB JIS 10K 20K 30K 40K |
| 連接形式 | 法蘭:FF RF RTJ 等 焊接:SW BW |
| 結構長度 | 符合 IEC534 |
| 閥蓋型式 | 常溫型 高溫型 波紋管密封型 低溫型 |
| 填料 | 聚四氟乙烯 柔性石墨等 |
| 密封墊 | 金屬夾石墨密封墊 四氟乙烯墊等 |
| 閥內部件 | |
| 閥芯型式 | 單座柱塞型 |
| 流量特性 | 線性 等百分比 |
| 內件材質 | 1Cr18Ni9Ti 1Cr18Ni9Ti+PTFE |
| 執行機構 | |
| 電動 | PSL系列 3810L系列 |
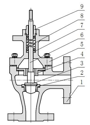
主要零件材料及內部結構

| 本體材質為碳鋼 | ||||
|---|---|---|---|---|
| 1 | 閥體 | WCB | LCB | WC9 |
| 2 | 閥座 | 304 | 304 | 304 |
| 3 | 閥芯 | 304 | 304 | 304 |
| 4 | 導向套 | 304 | 304 | 304 |
| 5 | 閥蓋 | WCB | LCB | WC9 |
| 6 | 閥桿 | 304 | 304 | 304 |
| 7 | 填料 | PTFE/柔性石墨 | ||
| 8 | 彈簧 | 65Mn | ||
| 9 | 螺母 | 304 | 304 | 304 |
| 本體材質為不銹鋼 | ||||
| 1 | 閥體 | CF8 | CF8M | CF3M |
| 2 | 閥座 | 304 | 316 | 316L |
| 3 | 閥芯 | 304 | 316 | 316L |
| 4 | 導向套 | 304 | 316 | 316L |
| 5 | 閥蓋 | CF8 | CF8M | CF3M |
| 6 | 閥桿 | 304 | 316 | 316L |
| 7 | 填料 | PTFE/柔性石墨 | ||
| 8 | 彈簧 | 65Mn | ||
| 9 | 螺母 | 304 | 316 | 316L |
閥蓋型式

流量特性

|
行程 流量特性 |
0 | 10 | 20 | 30 | 40 | 50 | 60 | 70 | 80 | 90 | 100 |
| 線性 | 2 | 11.8 | 21.7 | 32.1 | 42 | 51.2 | 61.2 | 71.1 | 80.4 | 90.5 | 100 |
| 等百分比 | 2 | 3.1 | 4.5 | 6.5 | 9.6 | 14.2 | 19.8 | 29.9 | 45.6 | 68.2 | 100 |
電動角式調節閥規格與技術參數
| 公稱通徑 DN | 20 | 25 | 32 | 40 | 50 | 65 | 80 | 100 | 125 | 150 | 200 | 250 | 300 | |
| 閥座直徑(mm) | 20 | 25 | 32 | 40 | 50 | 65 | 80 | 100 | 125 | 150 | 200 | 250 | 300 | |
| 額定流量系數 Kv | 6.5 | 10 | 16 | 25 | 40 | 63 | 100 | 160 | 250 | 400 | 630 | |||
| 行程 mm | 10 | 16 | 25 | 40 | 60 | 100 | 100 | |||||||
| 允許壓差ΔMPa | 6.1 | 3.8 | 2.3 | 1.4 | 1 | 2.3 | 1.6 | 1 | 0.8 | 0.6 | 0.4 | |||
| 基本誤差 | ±2.5 | |||||||||||||
| 回差 % | 2.5 | |||||||||||||
| 死區 % | 1 | |||||||||||||
| 始終點偏差 % | ±2.5 | |||||||||||||
| 額定行程偏差 % | 2.5 | |||||||||||||
| 允許泄漏量 Q | Kv 值的 0.1% | |||||||||||||
| 可調范圍 | 30:01:00 | |||||||||||||
|
配用執 行機構 |
PSL | PSL201 | PSL202 | PSL204 | PSL208 | PSL312 | PSL320 | |||||||
| 3810L | SA-08 | 381LSA-30 | 381LSB-30 | 381LSB-50 | 381LSC-65 | 381LSC-160 | ||||||||
| 適用溫度 | 常溫-20℃~+200℃ 鑄鋼 ZG25 鑄不銹鋼 ZG1Cr18Ni9Ti | |||||||||||||
| 中溫-40℃~+450℃ 鑄鋼 ZG25 鑄不銹鋼 ZG1Cr18Ni9Ti | ||||||||||||||
| 常溫-20℃~+200℃ 鑄鋼 ZG25 鑄不銹鋼 ZG1Cr18Ni9Ti | ||||||||||||||
| 中溫-40℃~+450℃ 鑄鋼 ZG25 鑄不銹鋼 ZG1Cr18Ni9Ti | ||||||||||||||
允許壓差表
|
執行機構 型號 |
輸出推力 (KN) |
閥座直徑 dn(mm) | ||||||||||
| 20 | 25 | 32 | 40 | 50 | 65 | 80 | 100 | 125 | 150 | 200 | ||
| 3810LSA-08 | 0.8 | 2.38 | 1.52 | 0.93 | 0.59 | 0.38 | ||||||
| 1.91 | 1.22 | 0.74 | 0.47 | 0.3 | ||||||||
| 3810LSA-20 | 2 | 4.77 | 3.05 | 1.86 | 1.19 | 0.76 | 0.45 | |||||
| 3.82 | 2.44 | 1.49 | 0.95 | 0.61 | 0.36 | |||||||
| 3810LSB-30 | 3 | 2.79 | 1.79 | 1.14 | 0.67 | 1.21 | 0.28 | 0.18 | 0.12 | 0.03 | ||
| 2.23 | 1.43 | 0.91 | 0.54 | 0.96 | 0.22 | 0.14 | 0.1 | 0.02 | ||||
| 3810LSB-50 | 5 | 4.66 | 2.98 | 1.91 | 1.13 | 1.51 | 0.47 | 0.3 | 0.21 | 0.08 | ||
| 3.73 | 2.38 | 1.52 | 0.9 | 1.2 | 0.38 | 0.24 | 0.16 | 0.06 | ||||
| 3810LSC-65 | 6.5 | 1.35 | 2.34 | 0.57 | 0.36 | 0.25 | 0.11 | |||||
| 1.08 | 1.87 | 0.45 | 0.29 | 0.2 | 0.08 | |||||||
| 3810LSC-99 | 10 | 2.26 | 2.92 | 0.95 | 0.61 | 0.42 | 0.2 | |||||
| 1.8 | 2.33 | 0.76 | 0.48 | 0.33 | 0.15 | |||||||
| 3810LSC-160 | 16 | 0.97 | 0.67 | 0.35 | ||||||||
| 0.78 | 0.54 | 0.27 | ||||||||||
允許壓差表的附注說明
● 填料材質為 PTFE;● 介質的流向與閥芯關閉的方向相反;
● 金屬密封型泄露等級為Ⅳ級;
● 數值受公稱壓力、溫度表限制;
● 波紋管密封型 P2≠0 時需重新核對;
特殊要求
● 特殊檢驗;● 完全去油、去水處理;
● 禁銅處理;
● 特殊接口、配管;
● 真空條件下使用;
● 指定涂層顏色;
● 特殊介質(氧氣、氫氣、氯氣);
配電動執行機構外形尺寸(常溫型、高溫型)
| 公稱通徑(DN) | 20 | 25 | 32 | 40 | 50 | 65 | 80 | 100 | 125 | 150 | 200 | 250 | 300 | |
| L | PN16/25 | 95 | 100 | 105 | 115 | 125 | 145 | 155 | 175 | 200 | 225 | 275 | 95 | 100 |
| PN40 | 95 | 100 | 105 | 115 | 125 | 145 | 155 | 175 | 200 | 225 | 275 | 95 | 100 | |
| PN64、100 | 115 | 115 | 130 | 130 | 150 | 170 | 190 | 215 | 250 | 275 | 325 | 115 | 115 | |
| H | PN16/25 | 349 | 350 | 358 | 378 | 393 | 494 | 503 | 521 | 634 | 696 | 715 | 840 | 915 |
| PN40 | 349 | 350 | 358 | 378 | 393 | 494 | 503 | 521 | 634 | 696 | 715 | 840 | 915 | |
| PN64/100 | 355 | 358 | 365 | 384 | 400 | 502 | 512 | 530 | 641 | 705 | 724 | 860 | 934 | |
| H1 | PN16/25 | 444 | 445 | 458 | 478 | 492 | 594 | 628 | 646 | 759 | 846 | 915 | 974 | 1025 |
| PN40 | 444 | 445 | 458 | 478 | 492 | 594 | 628 | 646 | 759 | 846 | 915 | 974 | 1025 | |
| PN64/100 | 450 | 450 | 465 | 485 | 500 | 602 | 635 | 655 | 768 | 855 | 935 | 988 | 1050 | |
| R | 201 | 202 | 204 | 208、210 | 210、316 | 320 | ||||||||
| 壓力等級 | GB:1.6、2.5、4.0、6.4、10.0MPa ANSI:150、300、600LB JIS:10、20、30、40K | |||||||||||||
產品外形結構尺寸圖


聲明:本文中所有文字、數據、圖片均只適用于參考,ZDSJ電動角型流量調節閥性能參數、結構尺寸參數、價格等詳情,請聯系我們,電話:021-80392609。



